不思議物品研究室 <<
特別研究・アポロ科学のシンテクノロジーとは?
このページの目次
アポロ科学のシンテクノロジーとは?
フリーエネルギーとは?
フリーエネルギー研究家・末廣淳郎氏本人によるハイレベルエネルギーの説明
アポロ科学研究所(末廣淳郎氏)出願の特許調査
特開2001-143832(コンセント)
特開2001-179083(良性電磁波発生装置)
特開2002-8448(螺旋形成導体及びそれを備えた螺旋形成電導体装置)
特開2002-175910(螺旋形成導体及びそれを備えた電気機器)
特開2002-359041(電気接続器)
特開2003-120495(燃焼補助用螺旋導体)
特開2005-160639(照明付き載置台)
特開2005-294082(ノイズ低減電池)
特開2006-338959(浴槽用ランプ)
特許調査結果まとめ
所感その他




アポロ科学のシンテクノロジーとは
アポロ・シン(synm)テクノロジーとは?
魔法のコンセント(アルファ・ジーニアスやアルファ・シン・コンセント)や光コースターやアポロ・シン・フィルター(地中に埋めると空間を良い場にするらしい)等の(株)アポロ科学研究所(代表:末廣淳郎氏)が開発および製造する魔法の(オカルト系?波動系?)グッズを魔法たらしめている技術のこと。
インターネットで調査しても商品PR系サイトが大部分で、また主観的、感覚的な表現ばかりが多く、客観的、技術的な根拠に関する情報が全く得られなこと、またオカルト大好き経営コンサルタント船井幸雄氏が「ほんもの商品」として絶賛評価していことが、この分野の商品の大きな特徴である。
もちろんオカルト系(波動系)だからと言っても、それはデタラメだとかインチキだとか詐欺商品ということではなく、今の工学や科学の知識では理解や表現ができない分野の技術や商品なのかも知れない。その点を十分に心に留めておく必要がある。
また、これらの商品や技術を少しでも理解するには、いわゆるフリーエネルギーというものをある程度は知る必要がある。シン(synm)テクノロジーの開発者である末廣淳郎氏はフリーエネルギー研究者(信者)であり、シン(synm)テクノロジーやこれらの関連商品は、そのフリーエネルギーを活用しようとした試みであると考えられるからだ。

シン(synm)テクノロジーの開発者である末廣淳郎氏
<アポロ科学関連参考リンク>
アルファジーニアス公式販売サイト
本物のゼロ磁場発生コンセント開発者直撃インタビュー
船井幸雄の今月のクローズアップ
ご興味のある方は「魔法のコンセント」や「アルファ・ジーニアス」で検索してください。
不思議な体験談が山盛り出てきます。(だいたい同じような内容ですが・・)
フリーエネルギーとは?
ここで言うフリーエネルギーとは物理学でのGibbsやHelmholtzのフリーエネルギー(自由エネルギー)とは全く関係がない。端的に言うと、宇宙に偏在する無限のエネルギーのことである。このエネルギーを用いた装置では、一見、エネルギー保存の法則(熱力学第一法則)を逸脱しているように見えるが、マクロな視点で見ると空間(宇宙)からエネルギーを得ている(取り出している)のでエネルギー保存則には矛盾しないとのこと。フリーエネルギーの定義や概念は極めて曖昧で、宇宙エネルギー、空間エネルギー、エーテルエネルギー、ハイレベルエネルギー、高次元エネルギー、高波動エネルギー、生命波エネルギーも同様の概念であると思われる。また、物理学で言うエネルギーとは概念(次元)が異なり、場合によっては生命現象や意識世界や精神世界と深く結びついた概念として扱われている。残念ながら、今の科学や工学では扱うには、あまりにも掴み所がない未知の領域と言える。ただ、現象的側面(物理的側面)のみを科学的、工学的に捉えることは出来るが、やはり、定義や理論が曖昧不確かなので、結局は観念的世界に陥る可能性が高い。
<関連参考リンク>
Free Energy Page in Japan
疑似科学 - Wikipedia
大阪大学サイバーメディアセンター・ニセ科学入門
参考資料:フリーエネルギー研究家・末廣淳郎氏本人によるハイレベルエネルギーの説明
<以下http://ka-shop.hp.infoseek.co.jp/kurashi/h-energy.htmlより引用>
ハイレベルエネルギー(高次元エネルギー)とは
生体、生命力、土地、空気を蘇生・活性化する機能性を有するエネルギーです。このエネルギーの基盤となる要素は、生命を創生する超高分子体である生命有機体(生命酵素)です。これにより生命波を放出しています。
生命波エネルギーとは
生命有機体は、触媒機能として働いて、生命が創生します。この現象は現実的に確認できることで、生命を創生する潜在的生命素から放出するエネルギーが生命波であると考えます。
これをいろいろの要素を持ったものと反応させますと、さらに強いエネルギーを放出します。生命有機体から分裂増殖した超ミクロの粒子がエネルギー化したものが生命波エネルギーです。超ミクロの粒子が、分裂して伝播していく現象は、現代科学では確認できないことですが、いろいろな現象結果は確認できています。
螺旋(らせん)
粒子は超高分子有機体の構造を持ち、2種類の螺旋(らせん)が構築されていると予測しています。このため、粒子はハイレベルエネルギーを吸入、放出する場をもっていることになります。
この特性は、いろいろな物をエネルギー加工する技術にとって大切なことです。加工被体にこの粒子を入射、転写、記憶することが、エネルギー加工になります。粒子を入力することにより、エネルギーを入力、放射する場を形成することになります。
この宇宙において、超ミクロから超マクロの世界までがDNAと同じように、左右螺旋方向の形でエネルギーが伝播交錯しています。人間の体は宇宙の仕組み、宇宙はDNAと同じ仕組みでエネルギーの体系がコントロールされていると言われています。ここに生命場を形成して、エネルギーの共振共鳴により、エネルギーは励起増幅して、さらに強い場のエネルギーを創生することでしょう。
生命活性有機触媒
生命活性有機触媒は、水、熱、光、無機質、有機質、金属、磁気体などと反応すると、さらに生命波エネルギーは増幅します。 この結果、生命波エネルギー本来の特性である、伝播、バランスコントロール、融和、調和する機能性がさらに強くなります。
このようなエネルギーは、生命レベルのエネルギーまたは、生命レベルの電磁気エネルギーまたは、生命レベルの気のエネルギーと言われます。
また、いろいろな物と化合反応すると、強い生命活性エネルギーを放出する新触媒の開発を行いました。このエネルギーは全ての物質、水、空気、土、光、電磁気エネルギーと共振入力して、広い範囲に伝播、拡散、記憶します。 このハイレベルエネルギーになると、空間を循環する縦波のエネルギーとなり、自然の法則に則った理念、機能性を持っています。
ハイレベルエネルギーの特徴
全てを蘇生・活性化する
全てをバランスコントロールする(エントロピーの減少化)
全てと融和、調和する
全てを伝播する
全てを透過する
全てを記憶する
心、意識とつながる
エネルギー加工とは
エネルギー加工とは、いろいろな物体、商品に超ミクロの粒子(生命素子)を入射して、縦波のエネルギーを放出する場を形成し、さらに新しい機能性を発揮する物に変換することです。
私たちは、この三次元、いわゆる五感で感じる世界に生きていますが、五感で感じない超ミクロの世界で作用する粒子エネルギーは、縦波の高次元エネルギーです。感じる、可視できる現象はこの超ミクロの世界において、既に現象作用が起きていると考えています。
縦波のエネルギーは、自然の法則に則った動ずることのない、筋の通ったエネルギーです。常に調和と融和、バランスコントロール、与える等々の機能と意識を持ち、生命力を蘇生、活性化して心を浄化するエネルギーです。これは、中心に芯を持ったものや、黄金比を持った回路に共振入力しやすいものです。
例えば、水の分子H2OのHとOの結合角がしっかりとした黄金比角度で結合された水は、生命力を持った力のある活性水になっています。
ピラミッドの場合、傾斜角や傾斜辺の比が黄金比率になっており、縦波の気のエネルギーが入力する回路になっています。また、縦波のエネルギーと相反するエネルギーには、横波のエネルギーがあります。横波のエネルギーは、人間のエゴ的なエネルギー、つまり資本主義社会において多く見られる欲望的、自己中心的、唯物的な意識エネルギーであり、他人に支配的な影響を与えて、自己的欲望の想いの波動エネルギーを出しています。このような状態においては、対立、争い、エゴ的な主張があるものです。
生命波エネルギーの特徴
生命力を蘇生、活性化する生命有機体触媒から放出する生命波エネルギーは、超ミクロの粒子であり、その中に左右の螺旋状の回路の型を持っています。そして粒子は、生物の増殖の形態のように雄(+)と雌(−)の相反する型を持っていると推察します。この(+)と(−)の結合による新しい粒子の誕生、分裂、拡散のプロセスの繰り返しは、核分裂のようにエネルギーが増幅、伝播していくように想像できます。これは生命力を蘇生、活性化する生命波エネルギーの創生であると思います。
このようなエネルギーは、新しい次元のエネルギーであり、融和、調和の特性を持っていて、全てのエネルギーに共振共鳴して次元のアップを行い、新しい型の特性を持ったエネルギーに変換するのです。これが、ハイレベルエネルギー(縦波のエネルギー)として機能、特性を持ちます。
生命波エネルギーの特徴
超ミクロの理念、機能性をもった粒子(素子)は当然、超ミクロの世界まで侵入作用して、機能性を発揮し、多くの現象、結果を出します。
生命活性触媒を通じて、高次元の世界で作用するエネルギーを三次元の世界に引き出し、ミクロの世界から超マクロの世界まで伝播、記憶、活性化した場を形成することができます。これが、生活活性触媒の作用による場の科学であり、これからの時代にとって必要とする大自然と同調する新しい分野の科学技術であると考えます。
<以上http://ka-shop.hp.infoseek.co.jp/kurashi/h-energy.htmlより引用>
上記情報元サイトは現在は完全閉鎖されました(2008/5/14)。上記記載の内容は、PCのキャッシュから原文をそのまま転載したものです。文章が長々と読み難かったため、文脈内容を判断して小題を適宜付加し読み易いように区切りました(左緑色のタイトル)。明らかな誤字は訂正していますが、作者の意図や内容は全く変えていません。
アポロ科学研究所(末廣淳郎氏)出願の特許調査
アポロ科学研究所(末廣淳郎氏)が出願の特許や実用新案をIPDLを用いて調査したので、その調査結果(発明の概要等)を下にまとめる。以下の特許明細書文中のアンダーラインは、僕が、その特徴的な文面をマークしたもので明細書原文にあるものではない。また前後関係を分かり易くするため必要に応じて文章を一部編集している。(内容や意図を変える編集はしていない)
特開2001-143832(コンセント)
【発明の名称】コンセント
【出願日】平成11年11月17日(1999.11.17)
【公開日】平成13年5月25日(2001.5.25)
【ステータス】査定種別(査定無し) 最終処分(未審査請求によるみなし取下)
最終処分日(平19.2.27)
図面

(左図)コンセント本体 (右図)電気エネルギー整形手段

(上図)らせん状磁石
1 コンセント本体
2 電源ケーブル
3a、3b 電気エネルギー整形手段
5 挿入孔
6 受け刃の延長部
7、10 磁石
8 導線
9 触媒物質
要約(課題と手段と効果など)
【発明が解決しようとする課題】従来のコンセントでは、コンセントを経由して供給される電力により発生する電磁波の位相が崩れていたり、ノイズが乗っていたりして、きれいな波形の電磁波でなく、悪性の電磁波を発生していた。また、このような悪性の電磁波は、人間に対しても影響があり、この悪性の電磁波を受けた人が臓器の機能不全になったり、悪性腫瘍の原因となったりしていた。本発明は、上記従来の問題点を解決し、電磁波の位相が整った電力を供給できるコンセントを提供することにある。
【課題を解決するための手段】本発明によれば、商用電力を供給するコンセントにおいて、電力供給側のケーブルと、電力を他の機器のプラグに供給する受け刃と、ケーブルと受け刃との間に設けた電気エネルギー整形手段とからなるコンセントが提供される。また、本発明によれば、電気エネルギー整形手段は、右らせん状の磁石と、この磁石の外周に右らせん状に巻回する導電性コイルと、これら磁石と導電性コイルとを周囲から囲む触媒物質からなり、この触媒物質がクロトルマリン(電気石)、じゃもん石、きほう石、磁性粉体をポリウレタン樹脂塗料に入れたものからなるコンセントが提供される。
【発明の効果】本発明は、商用電力を供給するコンセントにおいて、電力供給側のケーブルと、電力を他の機器のプラグに供給する受け刃と、ケーブルと受け刃との間に設けた電気エネルギー整形手段とからなるコンセントであり、電力により発生される電磁波の位相の乱れを整えたり、電磁波のノイズを除去したりする働きがあり、電磁波を人体に影響の少ない良性のものにすることができる。
また、本発明は、電気エネルギー整形手段は、右らせん状の磁石と、この磁石の外周に右らせん状に巻回する導電性コイルと、これら磁石と導電性コイルとを周囲から囲む触媒物質からなり、この触媒物質がクロトルマリン(電気石)、じゃもん石、きほう石、磁性粉体をポリウレタン樹脂塗料に入れたものからなるので、簡単な構成で良性電磁波への変換ができる。
特許請求の範囲
【請求項1】商用電力を供給するコンセントにおいて、電力供給側のケーブルと、電力を他の機器のプラグに供給する受け刃と、ケーブルと受け刃との間に設けた電気エネルギー整形手段とからなるコンセント。
【請求項2】請求項1にて、電気エネルギー整形手段は、右らせん状の磁石と、この磁石の外周に右らせん状に巻回する導電性コイルと、これら磁石と導電性コイルとを周囲から囲む触媒物質からなることを特徴とするコンセント。
【請求項3】請求項2において、前記触媒物質がクロトルマリン(電気石)、じゃもん石、きほう石、磁性粉体をポリウレタン樹脂塗料に入れたものからなることを特徴とするコンセント。
その他抜粋事項
【実施例】より抜粋
この触媒物質9は導線8に流れる電気により発生される電磁波の位相の乱れを整えたり、電磁波のノイズを除去したりする働きがあり、電磁波を人体に影響の少ない良性のものにする。
このように良性の電磁波に変えられた電気を用いた他の機器では、機器の動作が円滑になり、特に冷蔵庫では冷蔵庫の動作に伴って発生する電磁波が良性電磁波であることより、内部の保存食品が腐りにくく長持ちする。また、同様にランプでは、良性電磁波が発生する光に変換され、放出される。この光を生命体に照射すると、生命体の揺らぎを整える効果があり、水で湿らせた米ぬかを1週間放置すると通常青カビが発生するところ、この光を照射した場合、カビの発生がなく、醗酵する。また、バナナを放置すると黒くなり内部が腐ってくるのに対し、この光を照射すると外の皮は黒くなるものの内部は白いまま腐らない状態が長く続いた。
コメント
要するに、螺旋(らせん)状に着磁した磁石に螺旋状にコイルを巻くと、どうやら魔法の作用が発揮されるらしい。しかし、その動作原理の説明な全く無い。
初期の魔法のコンセント構造なのだろうか。現在市販中のコンセント(αジーニアスコンセントやアポロシンコンセント)とは全く構造がちがう。(現在市販中のコンセントは構造的に通常コンセントとの違いは全くない。金属そのものに特殊処理されているらしい)。
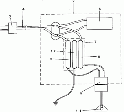
特開2001-179083(良性電磁波発生装置)
【発明の名称】良性電磁波発生装置
【出願日】平成11年11月19日(1999.11.19)
【公開日】平成13年7月3日(2001.7.3)
【ステータス】査定種別(査定無し) 最終処分(未審査請求によるみなし取下)
最終処分日(平19.2.27)
図面

(左図)良性電磁波発生装置の構成図 (右図)第1誘導体の内部構造を示す図
1 良性電磁波発生装置
2 装置本体
3 プラグ
4 電源ケーブル
5 コンセント
6 電磁波発生手段
7 電磁波誘導手段
8 第1誘導体
9 第2誘導体
10 第3誘導体
11 白熱電球
12 磁石
13 導線
14 触媒物質
要約(課題と手段と効果など)
【発明が解決しようとする課題】従来の電磁波発生装置は、発生される電磁波の位相が崩れていたり、ノイズが乗っていたりして、きれいな波形の電磁波になってなく、悪性の電磁波と呼ばれていた。また、このような悪性の電磁波は、人間に対しても影響があり、この悪性の電磁波を受けた人が臓器の機能不全になったり、悪性腫瘍の原因となったりしていた。
【課題を解決する手段】本発明は、(a)商用電力に接続される電磁波発生手段と、(b)棒状の磁石と、この磁石の外周に右巻きに巻き、一方を商用電力に他方を出力端に接続された導線と、この導線の外周を覆う触媒物質とからなる第1の誘導体と、(c)棒状の磁石と、この磁石の外周に右巻きに巻き、一方を商用電力に他方を出力端に接続された導線と、この導線の外周を覆う触媒物質とからなり第1の誘導体と平行に配置した第2の誘導体と、(d)棒状の磁石と、この磁石の外周に右巻きに巻かれ一方をアースに接続された導線と、この導線の外周を覆う触媒物質とからなる第3の誘導体とを備え、良性電磁波を発生する装置である。
【発明の効果】生命体の揺らぎを整え、生命力向上ができる。また、第1および第2の誘導体のそれぞれの導線に接続した発光装置とを備えたことにより、光を照射するだけで生命体の揺らぎを整え、生命力向上ができる。
特許請求の範囲
【請求項1】(a)商用電力に接続される電磁波発生手段と、(b)棒状の磁石と、この磁石の外周に右巻きに巻き、一方を商用電力に他方を出力端に接続された導線と、この導線の外周を覆う触媒物質とからなる第1の誘導体と、(c)棒状の磁石と、この磁石の外周に右巻きに巻き、一方を商用電力に他方を出力端に接続された導線と、この導線の外周を覆う触媒物質とからなり第1の誘導体と平行に配置した第2の誘導体と、(d)棒状の磁石と、この磁石の外周に右巻きに巻かれ一方をアースに接続された導線と、この導線の外周を覆う触媒物質とからなる第3の誘導体とを備えた良性電磁波発生装置。
【請求項2】前記触媒物質がクロトルマリン(電気石)、じゃもん石、きほう石にポリウレタン樹脂塗料に入れたものからなる請求項1記載の良性電磁波発生装置。
【請求項3】(a)商用電力に接続される電磁波発生手段と、(b)棒状の磁石と、この磁石の外周に右巻きに巻き、一方を商用電力に他方を出力端に接続された導線と、この導線の外周を覆う触媒物質とからなる第1の誘導体と、(c)棒状の磁石と、この磁石の外周に右巻きに巻き、一方を商用電力に他方を出力端に接続された導線と、この導線の外周を覆う触媒物質とからなり第1の誘導体と平行に配置した第2の誘導体と、(d)棒状の磁石と、この磁石の外周に右巻きに巻かれ一方をアースに接続された導線と、この導線の外周を覆う触媒物質とからなる第3の誘導体と、(e)第1および第2誘導体のそれぞれの導線の出力端に接続した発光装置とを備えた良性電磁波発生装置。
【請求項4】前記触媒物質がクロトルマリン(電気石)、じゃもん石、きほう石にポリウレタン樹脂塗料に入れたものからなる請求項3記載の良性電磁波発生装置。
その他抜粋事項
【実施例】より
(電磁波発生手段に関する記述)
公知の電磁波発生手段6はプラグ3から電源ケーブル4を介して接続している。この電磁波発生手段6は内部に磁石の棒を設け、この棒の周りに右巻きに導線を巻いてものからなる。7は、電磁波誘導手段であり、その内部には電源ケーブル4の一方に接続し、コンセント5に接続する第1の誘導体8と、電源ケーブル4の他方に接続し、コンセント5に接続する第2の誘導体9と、一方がアースに接続される第3の誘導体10とを備え、第1乃至第3の誘導体8、9、10を平行に配置する。11はコンセント5に接続した発光装置を構成する白熱電球である。
・・
(動作説明らしき記述)
次にこの構成において電力を供給したときの動作を説明する。まず、プラグ3を商用電力のコンセントに差し込むと、電磁波発生手段6に電流が流れ電磁波が発生する。一方電流は電磁波誘導手段7にも流れ、第1誘導体8と第2誘導体9において互いに逆向きの磁界が発生して、発生した磁界は互いに打ち消し合うことにより、第1誘導体8と第2誘導体9との間、すなわち第3誘導体10の位置にゼロ磁場が生じる。ゼロ磁場が発生した状態において、第3誘導体10がアースされていることより電磁波発生手段6で発生した電磁波が、電磁波誘導手段7で流れる電流と共鳴する。共鳴した電磁波は位相の崩れがなくなり、ノイズもなく、きれいな波形の電磁波、すなわち良性の電磁波になって商用電力に乗ってコンセント5に供給される。
(→動作説明は理解困難)
コメント
電磁波発生手段も電磁波誘導手段も共に磁石に導線を巻いた構造体のよう。前出願(特開2001-143832)のよな磁石を螺旋形状に着磁することはしていない。実施例に動作の説明が若干あるが理解困難。
特開2002-8448(螺旋形成導体及びそれを備えた螺旋形成電導体装置)
【発明の名称】螺旋形成導体及びそれを備えた螺旋形成電導体装置
【出願日】平成12年6月23日(2000.6.23)
【公開日】平成14年1月11日(2002.1.11)
【ステータス】査定種別(査定無し)
図面


(上左図)本発明の螺旋形成電導体の第1実施の形態における構成
(上右図)磁界発生の状態を説明するための回路図

(上図)螺旋形成電導体を含む装置を示す図

(上図)実施の形態でのノイズ成分の除去観測実験説明図
1,2,3,4,5,20,21・・・電導体
1a,3a,5a・・・螺旋状の溝
2b,4b,5b・・・螺旋状の突起
10・・・電源
15・・・巻回導線(コイル)
16・・・筒状金属板
17・・・被覆材
22・・・ドライヤ
23・・・二現象オシロスコープ
要約(課題と手段と効果など)
【発明が解決しようとする課題】交流の通電時におけるノイズ成分を効果的に除去できるとともに、安定した磁界の発生が可能になる螺旋形成電導体を提供を目的とする。
【課題を解決するための手段】鋭意研究を行った結果、意外にも螺旋形成電導体に螺旋状の溝を付与することにより、交流通電時、ノイズが明確に除去できることを見出し、この知見により本発明を完成させたものである。
【発明の効果】以上の説明から明らかなように、本発明の螺旋形成電導体を通ずることにより、交流の通電におけるノイズ成分を効果的に除去できる。その結果、安定した磁界の発生が可能になった。
特許請求の範囲
【請求項1】電導体の表面に、螺旋状の溝又は螺旋状の突起を形成したことを特徴とする螺旋形成電導体。
【請求項2】 互いに逆方向の2つの螺旋状の溝又は螺旋状の突起が形成されていることを特徴とする請求項1記載の螺旋形成電導体。
【請求項3】 前記螺旋状の溝又は螺旋状の突起が黄金角をもって形成されていることを特徴とする請求項1記載の螺旋形成電導体。
【請求項4】 螺旋形成電導体の一端に電気的負荷を接続したことを特徴とする請求項1,2又は3記載の螺旋形成電導体。
【請求項5】 電導体の表面に螺旋状の溝又は螺旋状の突起を形成した第1の電導体と、この第1の電導体の外側にコイル状に配置した第2の電導体と、該第2の電導体の外側に配置された筒状金属板と、前記筒状金属板の外側に配置された被覆部材と、を備えることを特徴とする螺旋形成電導体装置。
【請求項6】 第2の電導体の表面に螺旋状の溝又は螺旋状の突起を形成したことを特徴とする請求項5記載の螺旋形成電導体装置。
(以下の請求項は省略)
その他抜粋事項
【実施例】より抜粋
本発明の第1の実施の形態のようなZ撚り方向の螺旋状の溝(螺旋溝の溝断面は半円形のもの)を有する螺旋形成電導体(銅製)を用意する。螺旋形成電導体20の長さは、250mm、直径は6mmである。そして螺旋状の溝の角度?は、80°,53°,20°,溝なし、の4本(それぞれ試料1,試料2,試料3,試料4)を用意した。
螺旋形成電導体20の一端に商用交流(100V)を入力し、その出力側に負荷としてのドライヤ22を接続した。ドライヤ22は、IZUMI製造、定格100V,1200W、50〜60Hz仕様である。螺旋形成電導体20の一端の交流入力と他端の交流出力とを二現象オシロスコープ23(SS−5702
DC〜20M1Hz規格)を接続して波形を観測した。その結果、本発明の螺旋形成電導体の場合は、交流波形のノイズ成分が効果的に除去されているものであった。
コメント
ちまり、導体の表面に螺旋(らせん)状の溝または突起を付加するだけで、高周波ノイズを除去する電気的フィルタ効果が現れるらしい。動作原理の説明は無い。工学的には全く説明がつかない現象だと思う。実験結果が記載されているが、思い込みによる誤りか、何んかの勘違いによるものと推測できる。
特開2002-175910(螺旋形成導体及びそれを備えた電気機器)
【発明の名称】螺旋形成導体及びそれを備えた電気機器
【出願日】平成12年12月7日(2000.12.7)
【公開日】平成14年6月21日(2002.6.21)
【ステータス】査定種別(査定無し)
図面


(上左図:図1)螺旋形成電導体の第1実施の形態における構成を示す側面図及び断面図
(上右図:図2)螺旋形成電導体の第2実施の形態における構成を示す側面図及び断面図

(上図:図6)螺旋形成電導体構造物を示す図

(上図:7)螺旋形成電導体構造物を照明器具に使用した場合を概略図

(上図:図13)螺旋形成電導体構造物を農地の土壌に使用した場合を概略図
【符号の説明】
1,2,3,4,5,・・・電導体
11・・・第2の電導体
1a,3a,5a・・・螺旋状の溝
2b,4b,5b・・・螺旋状の突起
?・・・螺旋状の溝又は突起の角度
12・・・充填材
13,13A,13B,13C 13D・・・ドーナツ状磁石
Z・・・螺旋形成電導体構造物
要約(課題と手段と効果など)
【発明が解決しようとする課題】波動エネルギーを確実に高められた電気機器を提供することを目的とする。
【課題を解決するための手段】鋭意研究を行った結果、意外に電導体をある形状とすることにより、波動エネルギーを高めることができる原理的なものを見出し、この知見により本発明を完成させたものである。つまり、電導体の表面に螺旋状の溝又は螺旋状の突起を形成した第1の電導体と、この第1の電導体の外側にコイル状に配置した第2の電導体と、該第2の電導体の外側に配置されたドーナツ状磁石と、前記第1の電導体とドーナツ状磁石の空間に充填された充填材と、を有する螺旋形成電導体構造物を備えたことを特徴とする。
【効果】 本発明の螺旋形成電導体や螺旋形成電導体構造物を組み込んだ電気機器においては、電気機器の波動エネルギーが高まる効果を得る。また、他の分野、例えば食品製造用、建築用、農業用、化石又は合成燃料(気体、液体)等に使用されることにより、波動エネルギーを有効に利用できる。
特許請求の範囲
【請求項1】電導体の表面に、螺旋状の溝又は螺旋状の突起を形成した螺旋形成電導体を備えた電気機器。
【請求項2】 電導体の表面に互いに逆方向の2つの螺旋状の溝又は螺旋状の突起が形成された螺旋形成電導体を備えた電気機器。
【請求項3】 電気機器が照明器具、発熱器具、電動器具、医療器具、又は燃料容器装置であることを特徴とする請求項1又は2記載の螺旋形成電導体装置。
【請求項4】 電導体の表面に螺旋状の溝又は螺旋状の突起を形成した第1の電導体と、この第1の電導体の外側にコイル状に配置した第2の電導体と、該第2の電導体の外側に配置されたドーナツ状磁石と、前記第1の電導体とドーナツ状磁石の空間に充填された充填材と、を有する螺旋形成電導体構造物を備えた電気機器。
【請求項5】 第2の電導体の表面に螺旋状の溝又は螺旋状の突起を形成したことを特徴とする請求項2記載の電気機器。
【請求項6】 電気機器が照明器具、発熱器具、電動器具、医療器具、又は燃料容器装置であることを特徴とする請求項4又は5記載の螺旋形成電導体装置。
【請求項7】 電気機器が照明器具、発熱器具、電動器具、医療器具、又は燃料容器装置であることを特徴とする請求項4又は5記載の螺旋形成電導体装置。
その他抜粋事項
【実施例】より抜粋
波動エネルギーを有効に高める電導体(導体)の例を示す。図1は本発明の螺旋形成電導体の第1の実施の形態を示す図である。(a)は、側面図であり、(b)は、図1(a)中のA−A断面図である。図から明らかなように、電導体1は、断面円形であり一定の長さを有するもので長尺体である。そして、その表面にはS撚り方向(いわゆる右巻き方向)の螺旋状の溝1aが形成されている。この溝の角度θ(いわゆるリード角)は任意に設定することができる。
図2は、本発明の螺旋形成電導体の第2の実施の形態を示す図である。(a)は側面図であり、(b)は、図2(a)中のA−A断面図である。図から明らかなように、電導体1は、断面円形であり一定の長さを有する。そして、その表面にはS撚り方向の螺旋状の突起2bが形成されている。この突起2bの角度θ(いわゆるリード角)は任意に設定することができる。
図6は、その螺旋形成電導体構造物を概略的に示す斜視図であり、(b)は、(a)中のA−A断面である。図からわかるように、まず、中央部(中心部)に第1の電導体が配置されている。この第1の電導体は、上記各実施の形態(図1から図5)で示した電導体1(2,3,4,5)を使用することができる。ここでは電導体1の表面にZ撚り方向の螺旋状の溝が形成されているものを示した。この第1の電導体1の外側には、更に第2の電導体11が配置されている。
図7は、この螺旋形成電導体構造物Zを照明器具に使用した場合を概略的に説明するもので、螺旋形成電導体構造物Zは照明器具の一部、すなわち回路に組み込まれている。ここで照明される光は、極めて波動エネルギーの高いものとなり、例えば、この光を受けた人体の生理作用に好影響を与える。
図13は、農地の一定区画のある位置において螺旋形成電導体構造物Zを地中に差し込んでおく(又は埋め込んでおく)ものである。このようにすることで、螺旋形成電導体構造物の付近の土地土壌の波動エネルギーが高まることとなる。そのため、この農地から採れる例えば米、麦等も身体に良いものとなる。
などなど・・
コメント
螺旋形成電導体構造物にどのように電流を流すかはどうでもいいよいうだ。また、電流を流す必要もない。例えば、燃料タンクに取り付けたり、地中に埋めたりしてもOK。要するに螺旋形状の構造物が波動エネルギーというものを高くするということを述べている。その論理的根拠の記述はない。
特開2002-359041(電気接続器)
【発明の名称】電気接続器
【出願日】平成13年5月31日(2001.5.31)
【公開日】平成14年12月13日(2002.12.13)
【ステータス】査定種別(査定無し)
図面
(図1)本発明による電気接続器の実施の形態

(図3)

【符号の説明】
1…コンセント本体
2…プラグ
5…零磁場調整用電線集合体
6…電気的接続集合体
7…電気機器
10…電気接続器
11A…電気的接続端子(第1電気的接続端子)
11B…電気的接続端子(第2電気的接続端子)
12…零磁場調整用電線体
12A…電気導体(第1電気導体)
12B…電気導体(第2電気導体)
15A(15A1,15A2,15A3)…螺旋溝面
15B(15B1,15B2,15B3)…螺旋溝面
要約(課題と手段と効果など)
【課題】 磁気的に環境を整えることができる電気接続器を提供すること、また、そのような環境を簡易に低コストで生成することができる電気接続器を提供すること。
【解決手段】 本体1と、前記本体に固定され外部の電気機器7に接続される一対の第1電気的接続端子11Aと、前記本体に固定される磁気的零点調整器5と、外部の電源に接続される一対の第2電気的接続端子11Bとを含み、前記磁気的零点調整器5は、前記一対の第1電気的接続端子11Aの一方と前記一対の第2電気的接続端子11Bの一方の間に介設される第1電気導体12Aと、前記一対の第1電気的接続端子の他方と前記一対の第2電気的接続端子の他方の間に設けられる第2電気導体12Bとを備え、前記第1電気導体と前記第2電気導体とは、互いに平行に配置され、互いに逆方向に電流が通される電気接続器。
【発明の効果】本発明による電気接続器は、ノイズを削減して周囲の環境を静的にし、且つ、電力削減効果があり、コンセントのような電気接続器としてコンパクトに低コストで提供され得る。また、本発明による電気接続器は、殆ど負荷を持たず、電気機器が用いられる間だけ、その電気機器が生成するノイズを削減する。更に、以上のような効果以外にも波動エネルギーに関する好影響を与える。この点は、今後、高く評価されてくるものである。
特許請求の範囲
【請求項1】本体と、前記本体に固定され外部の電気機器に接続される一対の第1電気的接続端子と、前記本体に固定される零磁場調整用電線集合体と、外部の電源に接続される一対の第2電気的接続端子とを含み、前記零磁場調整用電線集合体は、前記一対の第1電気的接続端子の一方と前記一対の第2電気的接続端子の一方の間に介設される第1電気導体と、前記一対の第1電気的接続端子の他方と前記一対の第2電気的接続端子の他方の間に設けられる第2電気導体とを備え、前記第1電気導体と前記第2電気導体とは、互いに平行に配置され、互いに逆方向に電流が通されることを特徴とする電気接続器。
【請求項2】 前記第1電気導体又は第2電気導体には、前記長手方向に延びる螺旋溝面が形成されていることを特徴とする請求項1記載の電気接続器。
(以下請求項は省略)
その他抜粋事項
一般に、磁気と電気は、静的であり、それらが変動しない限り中性物体には作用しなく、また磁気は静止電気に作用しない。ところで、互いに平行な一対の電線に互いに反対方向に同じ大きさの電流が通される場合、その2本の電線の間の中心線の上の磁場の物理量は零であり、磁束の大きさは零である。このような磁場は、零磁場といわれれ、その零磁場に置かれる電子のスピンは、その磁場の影響を受ける。零磁場は、周辺の非零磁場に対して零点調整作用を持っていて、全体の磁場を安定させる。零磁場が周囲環境の磁気的安定化を誘導することは事実となっている。零磁場の常態的生成は、ノイズ消去という物理的観測により確認され得て再現可能である。日常的環境を零磁場の生成による誘導的零点調整によって、周囲の物理的環境を静的に安定化することが行われている。磁気という雰囲気が、精神的環境を整えることがあり得る。そのような環境が簡易に低コストで提供されることが望まれる。
零磁場調整用電線集合体5は、2対の電気的接続端子11A,11Bと、零磁場調整用電線体12とから形成されている。零磁場調整用電線体12は、単純に2本の電気導体12A,12Bである。電気導体12A,12Bは、単純に、金属、例えば、金の円柱棒、銅の円柱棒等のような良電気伝導体の金属棒が使用されることが好ましい。
電気導体12Aの中心線は、電気導体12Bの中心線に平行に、設定されている。電気導体12Aに正方向に電流I・sin?を流し、電気導体12Bに負方向に電流I・sin?を流せば、電気導体12A,12Bのそれぞれの中心線から等距離にある1直線上には、零磁場が生成する。
ここで、?は時間tの一次関数である。適正な次元定数がKで表されれば、電気導体12Aに流される電流I・sin?により生成される磁場は、K・I・sinθ/r1であり、電気導体12Bに流される電流I・sin?により生成される磁場は、−K・I・sinθ/r2である。ここで、r1とr2は、それぞれに、それぞれの中心線からの距離である。既述の1直線上では、r1=r2であるから、その1直線上に生成される磁場H0は、H0=K・I・sinθ/r0−K・I・sinθ/r0=0ここで、r0は電気導体12A,12Bの中心線と既述の等距離線との間の距離である。このような零磁場H0は、外部の磁気的物理環境が変動した場合にその磁気的物理環境が変動を抑制するように働く性質がある。
ここで電気導体12の表面に下記の塗料が塗られ又は蒸着されると、本発明の電気接続器としてはより効果的である。トルマリン粉末40重量%、酸化チタン10重量%、マラカイト10重量%、ラピス20重量%、セリサイト10重量%、磁気鉄鉱粉末10重量%など。
コメント
今市販の魔法のコンセントより複雑な構造。これも螺旋状構造体がポイントのよう。
特開2003-120495(燃焼補助用螺旋導体)
【発明の名称】燃焼補助用螺旋導体
【出願日】平成13年10月12日
【公開日】平成15年4月23日(2003.4.23)
【ステータス】査定種別(拒絶査定)
査定不服審判 2008-008740 請求日(平20.4.9)
審判(判定含む)
図面
(図1)螺旋導体の側面図

(下左図:図18)螺旋導体部材をバッテリからの2本のリード線へ同時に装着した状態を示す図
(下右図:図19)螺旋導体部材の一端部をバッテリ端子に固着した状態を示す図


【符号の説明】
1…螺旋導体
2…螺旋導体部材
10…導電棒体
12、15…被覆材
20…導電性丸棒
22…右向き螺旋溝
24…右向き螺旋状突起
26…左向き螺旋溝
28…左向き螺旋状突起
29…薄板
35,36…リード線
要約(課題と手段と効果など)
【課題】 内燃機関の燃焼効率を高め、かつ不燃有害物質の排出を制限する手段として内燃機関の電気点火装置の高圧電気回路に高圧用簡易コンデンサを取り付けることが提案されているが、このコンデンサは、コンデンサ自体の製造が困難でまたその作業手順が複雑であり、使用上において、多くの課題があり、それに代わる手段の開示が望まれていた。
【解決手段】 内燃機関へ連結するバッテリの電極端子またはリード線内へ装着することにより、内燃機関の燃焼効率を増進しかつ不燃物質の排出を抑制することが可能な、導電体からなる棒体の周囲へ螺旋を形成した導電棒体10と、該導電棒体10の外周部を被覆している被覆材12と、よりなる燃焼補助用螺旋導体1。
【発明の効果】本件発明による螺旋導体部材2は、簡単な構造で破損し難い。自動車、オートバイ、航空機、船舶、その他の分野で広く使用されている内燃機関の点火用バッテリ装置に設けられている電極端子又はリード線内へ介在させることで本発明の特有の効果を得られるものである。すなわち、リード線内を流れる電流が、周辺大気中を乱れ飛んでいる携帯電話、テレビ、カーナビ、ラジオその他から発生する多くの電気的なノイズをほとんど拾っていない純粋波形の電流となり、この電流を使用した場合、常に一定の波形強度の電流が内燃機関側へ供給され、このことにより内燃機関内での燃焼効率が飛躍的に増進し、同時に内燃機関内での不完全燃焼が大幅に阻止され、結果的にNOx等の大気汚染物質の排出が防止される。
また、発明者の実験によれば、純粋波形の電流が流れると、点火プラグの電極側に電圧降下や電圧変動がほとんどない電力が常時供給され、これによって点火プラグへ常に効果的なスパークが発生し、内燃機関の燃焼効率を上昇することが判明した。更に、不完全燃焼物質の発生が防止され、排気ガスがクリーンな状態となり、燃費が約2〜3割減少することが計測された。
特許請求の範囲
【請求項1】 内燃機関へ連結するバッテリの電極端子またはリード線内へ装着することにより、内燃機関の燃焼効率を増進しかつ不燃物質の排出を抑制することが可能な、導電体からなる棒体の周囲へ螺旋を形成した導電棒体10と、該導電棒体10の外周部を被覆している被覆材12と、よりなる燃焼補助用螺旋導体1。
【請求項2】 導電棒体10が、導電性丸棒20と、該丸棒20の表面に形成した螺旋溝22、26又は螺旋状突起24、28と、から構成されていることを特徴とする請求項1に記載の螺旋導体。
(以下請求項は省略)
その他抜粋事項
図1に示すように、本発明の螺旋導体1aは、基本的には、導電体からなる丸棒の周囲へ螺旋を形成した導電棒体10aと、該導電棒体10aの外周部を被覆している被覆材12aと、よりなる。より具体的には、導電棒体10aは、円形断面を有する導電性丸棒20aの外表面に例えば一重の右向きの螺旋溝22aを形成している。ここで丸棒20aの長さ、螺旋溝22aの傾斜方向、傾斜角度、深さ、ピッチ等は適宜選択される。一例としては、丸棒20aの直径は10mm、長さは10cm、螺旋溝22aの傾斜方向は右ねじ方向、傾斜角度は60度、溝の深さは2mm、である。丸棒20aの長さはこれ以上長くても短くてもよいが、長さに比例して後述するような効果が増大するものではないことが実験の結果判明しており、おおよそ10cm程度が使用しやすい長さである。さらにその直径は、5〜20mm程度がよい。
また溝22aの数は成形出来れば、二重でも三重でも良く、実験によれば、多条螺旋の場合、単一螺旋の場合よりも効果が大きいように考えられる。
コメント
魅惑の燃費改善グッズのよう。これも螺旋状構造体画ポイントのようだ。
特開2005-160639(照明付き載置台)
【発明の名称】照明付き載置台
【出願日】平成15年12月1日(2003.12.1)
【公開日】平成17年6月23日(2005.6.23)
【ステータス】査定種別(査定無し)
図面
(図1)照明付き載置台の説明図

(図4)螺旋形成導装置の例を示す説明図

【符号の説明】
1 照明付き載置台
2 容器本体部
2a 貫通穴
3 光透過プレート
4 プラグコード
4a 端子
5 LED点灯用基板
6 プラグ
7 ケーブルアッセンブリー品
8 リセプタクルコネクター
9 反射部材
9a 内側面
9b フランジ部
9c 開口穴
10 LED群
11A〜11F LED
11G 白熱ランプ
12 ノイズ消去装置
13 第一導体
13a 螺旋溝
14 第二導体
15 円筒状金属シート
16 被覆部材
17 充填部材
要約(課題と手段と効果など)
【課題】商品等の外観を顧客等に良く見せるために、LED等の発光体に供給される電流にノイズが乗らず、発光体の点灯状態を安定化させることができる照明付き載置台を提供すること。
【解決手段】 発光体を点灯させるための点灯制御部を内蔵する円筒状の容器本体部2と、該容器本体部内に設けられ且つ発光体を挿通するための開口穴9cが形成された反射部材9と、該反射部材を覆うように容器本体部の開口部に取り付けられた光透過プレート3と、を有し、点灯制御部20にはノイズ消去装置を備えた照明付き載置台。
【発明の効果】ノイズ消去装置が交流回路に設けられると、交流電圧へのノイズの重畳が抑止されることが、実験的に分かっているが、このノイズ消去装置を交流回路に設ければ、発光体に供給される電流に乗るノイズが低減され、発光体の発光が安定化する。そのため、照明付き載置台に載せた商品がより安定的にライトアップされ、顧客に対して審美的な印象を与えることができる。ひいては、審美的に商品を顧客に見せて、購買意欲を増進させ、それをもって需要の増大、ひいては産業の発達を図ろうとする取引界からの要望に応えることができる。
特許請求の範囲
【請求項1】
発光体を点灯させるための点灯制御部を内蔵する円筒状の容器本体部と、該容器本体部内に設けられ且つ発光体を挿通するための開口穴が形成された反射部材と、該反射部材を覆うように容器本体部の開口部に取り付けられた光透過プレートと、を有し、点灯制御部にはノイズ消去装置を備えたことを特徴とする照明付き載置台。
【請求項2】
ノイズ消去装置は、表面に螺旋溝が形成された第一導体と、螺旋溝に噛み合わない状態で第一導体の外側に配置されたコイル状の第二導体と、該第二導体の外側に配置された円筒状金属シートと、該円筒状金属シートの外側に配置された被覆部材と、円筒状金属シートと第一導体との間隙に充填された、被覆部材と同一材料の充填部材と、を備える螺旋形成導体装置であることを特徴とする請求項1記載の照明付き載置台。
(以下請求項は省略)
その他抜粋事項
この図4(A)のノイズ消去装置12は、螺旋溝13aが形成された第一導体13を有しており、螺旋形成導体装置とされている。この螺旋溝13aの角度θは(いわゆるリード角)は、自由に設定可能であるが、特に、51度50分にするのが好ましい。
因みに、この角度は黄金角といわれるが、黄金角は、ヨーロッパの建築物、絵画、彫刻等の美を求める最適値として、また自然界の動植物の成長(成長、収縮を繰り返すエネルギー現象)の最適値として極めて重要な値であることが経験的に知られている。
第一導体13の外側には、第一導体13と導通しないようにコイル状の第二導体14が巻回されている。
この第二導体14の巻回方向は、螺旋溝13aと反対回りに形成され、螺旋溝13aと噛み合わない状態にされている。
コメント
アポロ光コースターの特許なのか?これも螺旋溝を設けた導体がポイントのよう。これでノイズが除去されるとのことだが、工学的には説明困難。それ以前に、ここで言うノイズが照明の演出効果に影響を及ぼすというのも疑問。黄金角(美術領域の概念)まで出てくるし、結局、何のことやら僕には理解できない。
特開2005-294082(ノイズ低減電池)
【発明の名称】ノイズ低減電池
【出願日】平成16年3月31日(2004.3.31)
【公開日】平成17年10月20日(2005.10.20)
【ステータス】査定種別(査定無し)
図面
(図1)ノイズ低減電池を示す斜視図 (図2)A−A線に沿う断面図


(図3)ノイズ低減電池に使用される螺旋形成電導体

(図4)モータをノイズ低減電池を電源として駆動させモータに流れる
交流波形を測定する実験装置を示す説明図

【符号の説明】
【0043】
1 ノイズ低減電池
2 保護筒体
3A,3B 螺旋形成電導体
3a 溝
3b 突起
3c 溝
4 電解質塗料
5 和紙
6 アルミニウムシート
6A 導通線
7 和紙
8 円蓋
9 DC/AC変換器
10 ステップモータ
11 オシロスコープ
100A,100B 螺旋形成電導体
100a 溝
100b 突起
101 試験装置
102 ドライヤ
103 オシロスコープ
θ 角度
要約(課題と手段と効果など)
【課題】 電池を駆動源とする家電製品や電子機器等について、ノイズ低減効果を簡単に得られることを目的とするものである。
【解決手段】 棒状の電導体の外周面に螺旋状の溝又は突起を形成した一側電極と、該螺旋形成電導体3A,3B,3Cの外周面に塗布された電解質塗料4と
該電解質塗料4と接触しながら螺旋形成電導体の外周面を覆い、且つ螺旋形成電導体3A,3B,3Cと異なる材質で形成された他側電極と、を有するノイズ低減電池。
特許請求の範囲
【請求項1】
棒状の電導体の外周面に螺旋状の溝又は突起を形成した一側電極と、該螺旋形成電導体の外周面に塗布された電解質塗料と、該電解質塗料と接触しながら螺旋形成電導体の外周面を覆い、且つ螺旋形成電導体と異なる材質で形成された他側電極と、を有することを特徴とするノイズ低減電池。
(以下請求項は省略)
その他抜粋事項
かくして、本発明者は、このような課題背景に対して鋭意研究を重ねた結果、螺旋形成電導体を構成要素として組みこ込んで電池とすることで、上記の課題を解決することができることを見出し、この知見に基づいて本発明を完成させたものである。
本発明によれば、棒状の電導体の外周面に螺旋状の溝又は突起を形成した一側電極と、該螺旋形成電導体の外周面に塗布された電解質塗料と、該電解質塗料と接触しながら螺旋形成電導体の外周面を覆い、且つ螺旋形成電導体と異なる材質で形成された他側電極と、を有するので、一側電極と他側電極とを接続すると電流が流れる。すなわち、電池が形成されるが、棒状の一側電極の外周面には螺旋状の溝又は突起、或いは二重螺旋状の溝が形成されているので、電解質塗料との接触面積が広くなり、電池のパワーアップに貢献する。また、棒状の一側電極の外周面には螺旋状の溝又は突起、或いは二重螺旋状の溝が形成されているので、ノイズが低減されることとなる。
コメント
要するに、例の螺旋溝付導体を電池の電極に用いると、その電池で用いた機器のノイズが低減するというもの。もちろん工学的には理解困難。
特開2006-338959(浴槽用ランプ)
【発明の名称】浴槽用ランプ
【出願日】平成17年5月31日(2005.5.31)
【公開日】平成18年12月14日(2006.12.14)
【ステータス】査定種別(査定無し)
図面

要約(課題と手段と効果など)
【課題】本発明の目的は、家庭等の浴槽において簡単な装置により入浴者に優れた照明効果を与えることができる浴槽用ランプを提供すること。
【解決手段】 発光体を点灯させるための点灯制御部を内蔵する円筒状の容器本体部2と、該容器本体部内に設けられ且つ発光体を挿通するための開口穴が形成された反射部材9と、該反射部材9を覆うように容器本体部1の開口部に取り付けられた光透過プレート3と、を備え、これらが透明ケースに内蔵されている浴槽用ランプ。
【発明の効果】本発明の浴槽用ランプは、発光体を点灯させるための点灯制御部を内蔵する容器本体部と、該容器本体部が防水性の透明ケースに内蔵されている。容器本体部から発した光は透明ケースを通過して、浴槽の水中を照らすとともに、浴室内をも照明することとなる。浴槽用ランプに吸盤を備え付けることで、浴槽内のどの部分にも仮固定することができる。浴槽用ランプに錘を備え付けて浴槽の底部に沈めたりすることで、水底で安定した状態となる。特に、発光体として発光色の異なる複数の発光ダイオード(LED)を用い、点灯制御部により逐次発光色を変更することで、演出効果が大幅に向上する。また、点灯制御部にノイズ消去装置を備えれば、発光体の光が安定化し演出効果の向上に寄与する。
特許請求の範囲
【請求項1】発光体を点灯させるための点灯制御部を内蔵する容器本体部と、該容器本体部が防水性の透明ケースに内蔵されていることを特徴とする浴槽用ランプ。
【請求項2】発光体を点灯させるための点灯制御部を内蔵する円筒状の容器本体部と、該容器本体部内に設けられ且つ発光体を挿通するための開口穴が形成された反射部材と、該反射部材を覆うように容器本体部の開口部に取り付けられた光透過プレートと、を備え、これらが防水性の透明ケースに内蔵されていることを特徴とする浴槽用ランプ。
(途中請求項省略)
【請求項6】点灯制御部にノイズ消去装置を備えたことを特徴とする請求項1に記載の浴槽用ランプ。
【請求項7】ノイズ消去装置は、表面に螺旋溝が形成された第一導体と、螺旋溝に噛み合わない状態で第一導体の外側に配置されたコイル状の第二導体と、該第二導体の外側に配置された円筒状金属シートと、該円筒状金属シートの外側に配置された被覆部材と、円筒状金属シートと第一導体との間隙に充填された、被覆部材と同一材料の充填部材と、を備える螺旋形成導体装置であることを特徴とする請求項6記載の浴槽用ランプ。
コメント
基本的には、単なる防水性を有する浴槽用イルミネーショングッズの特許出願であり、特に新規性や進捗性は無いように思う。請求項6〜7が例の螺旋溝導体のノイズフィルタとの組み合わせである。
特許調査結果まとめ
以上の末廣淳郎氏出願の特許を調査した結果の総まとめをしておく。
●9件の出願はされているが国内特許として登録されているものは1件も無い(2008/6/1現在)。
●前半の出願は本人出願で、後半の出願は代理人(弁理士)出願である。さすがに代理人出願の明細書では「波動エネルギー」や「生命エネルギー」等の非学術用語は用いられていないが、その分、末廣氏本人の思いが十分表現されていないように思う。
●全てに共通する要素は螺旋形状の溝(または突起)を有する構造体(導体)である。
●螺旋形状構造体周辺にクロトルマリン(電気石)、じゃもん石、きほう石等を含む樹脂を塗布すると、その効果を高めるこことが出来る。また場合によっては磁石を付加すると、更に効果を高める。
●螺旋の傾斜角(リード角)は50〜80度程度が良く、特に黄金角と言われている51度50分が好適である。
●螺旋形状構造体にどのように電流を流すとかはあまり関係なく、例えばバッテリの1つの電極につけても、非電気製品以外にも、例えば地中に埋めても、その良好な効果を発揮する。
●ノイズが低減する等の実験結果(参考波形程度)の提示はあるが、その原理やメカニズムの説明が無い。
●現在販売されている光コースターやアポロシンフィルターでは螺旋形状構造体を採用している可能性が高い。
●現在販売されている魔法のコンセントシリーズ(αジーニアス、βジーニアス、アポロシンコンセント)で採用されている特殊触媒処理に関する出願はない。
所感その他
基本的には、波動系(フリーエネルギー関連)のアイデアなので、自然法則に基づくことが前提である特許との相性はあまり良くないのかも知れない。また、やはり、何度読んでも、その原理を知る事は出来ない。そもそも、末廣淳郎氏本人もその原理を理解していないのかも知れない。要するに「原理は分からないけど、やってみたら効果がありました」の世界なのだ。だからといって、それがデタラメという訳でもない。世の中には、気功とか風水とか・・根本原理なんか分からなくても、それで実用されているものも沢山ある。でも、シンテクノロジーの場合、少なくとも形としては工業製品なので、もう少しでも踏み込んだ工学的見解が欲しように思う。
追記:
この螺旋形状構造体、訳分からんけど、ちょっとまねして実験してみようと思う。
ほとんどオカルト実験かな?
特許調査:2008/5/30
投稿:2008/6/1
修正:2008/6/4
サイト内関連ページのご案内
![]() |
|

